当今互联网行业中,大大小小几百万公司成立,相对而来的就是成百上千的官方网站的陆续建立,但是怎样使自己公司的官网在百度、谷歌、必应等大牌搜索引擎中被收录,同时提高公司官网访问数量及知名度?
提高官网服务质量是第一位的,但是还需要对网站做SEO优化,但是怎样做SEO优化?
大公司的SEO优化都是形成体系的,提高网站的被搜索权重,同时增加特色关键字,增加网站访问量、加大网站被搜索引擎的索引等等方式。
作为一个计算机系的学生,对CSDN网站的需求量在浏览器中算是有着比较大的权重,接下来我借用CSDN网站的大数据网站分析,通过站长之家平台数据进行阐述个人对于大数据在SEO优化领域的具体应用。

上图是通过站长平台获取的对程序员网站CSDN的搜索排名,可以从图中得知CSDN占中文网站排名158、技术编程排名3、北京市排名85、百度权重6、Google权重7、反链数:4278,可以看出,此网站网络排名是较同等网站排名还是比较靠前的,同时由上图可以看到整站日均IP访问量达到100万响应之多,其数据承载量及SEO优化量还是比较大的。

上图可以看到CSDN中网站百度流量统计达到了1万2900,同时网站关键词库有着6196的热门关键词,其中索引量达到了234万7195,可见网站索引量都是比较大额的。
接下来我们看一下网站的收录及反链情况,见下图:

- 收录:百度占155万、谷歌占62万、360占140万、搜狗占341万;
- 反链:百度占171万、谷歌占3万左右、360占416万。

上图可以看到CSDN网站的热门标题及优化建议,CSDN全程“CSDN-专业IT技术社区”,这一标题占据着网站整体SEO关键词搜索,其中站长之家提供了对搜索的优化建议:一般不超过80个字符,这样来说对搜索引擎来说是比较友好的,便于搜索引擎的搜录及索引。

通过站长之家云平台可以看到,CSDN的百度权重走势、Alexa排名趋势、百度收录量变化趋势、整体来看,CSDN网站数据流量是稳步上升,众所周知,CSDN的文章来源至中国绝大部分程序员的技术经验及感受等文章,并呈现稳步增长趋势。

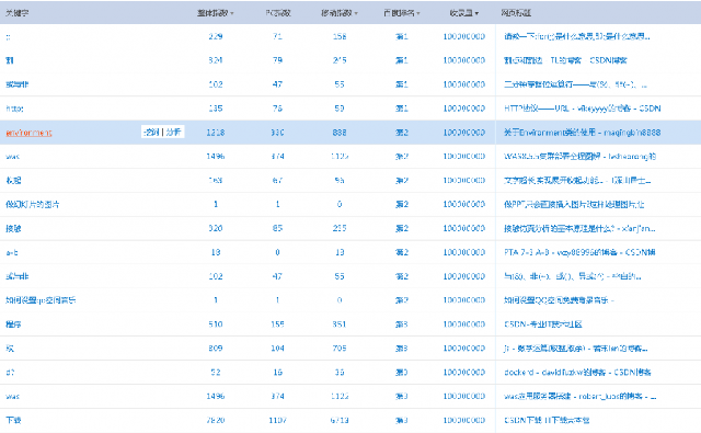
CSDN网站的关键词由上图可以看到主要是技术类的关键字,例如“HTTP、a-b、或与非、程序、下载”等关键词,这些词索引量搜录量都在100000000之中。
根据CSDN网站得出SEO优化的途径,主要优化来源有以下几点:
- 主动使网站让百度、Google、必应、360搜索引擎索引;
- 用户数量提升、访问数量提升,基数做大,访问量才会稳定;
- 关键词尽量不要和大牌网站关键词冲突,发掘新颖关键词;
- 升级网站为HTTPS协议,使网站安全且不会被挂马;
- 必要时购买百度、360权重,提升搜索时展示位置;
- 购买信用产品,提升网站信用值,吸引浏览者访问;
- 适当做网站分享,引流,提升访问量;
- 搜索体验及用户体验优化。